热门标签

皇冠信用网在线注册_2023年社工新考生考试报名注册及学历在线核验流程?

时间:2023-04-10   阅读:22598

皇冠信用网代理注册9990088.com—)开会员号,占成\登3代理\皇冠皇冠信用网_(招登1登2平台出租2023年的社工考试定于6月10、11日举行,社工考试报名将于3-4月开启,对于计划参加此次考试的新考生,应及早注册及完善学历信息皇冠信用网在线注册。

考试报名前,小羊提醒大家先完成这三步:账号注册,照片上传,学历核验皇冠信用网在线注册。

尤其学历核验需24小时才能通过审核,所以提前完成这些步骤很有必要,届时报名通道开启,就直接可以报名啦皇冠信用网在线注册。

皇冠信用网在线注册_2023年社工新考生考试报名注册及学历在线核验流程皇冠信用网在线注册?

01新用户账号注册操作流程

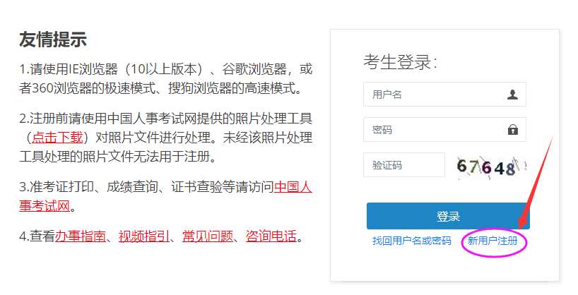
1、进入中国人事考试网皇冠信用网在线注册,选择【网上报名入口】进入登录页面,点击【新用户注册】

皇冠信用网在线注册_2023年社工新考生考试报名注册及学历在线核验流程皇冠信用网在线注册?

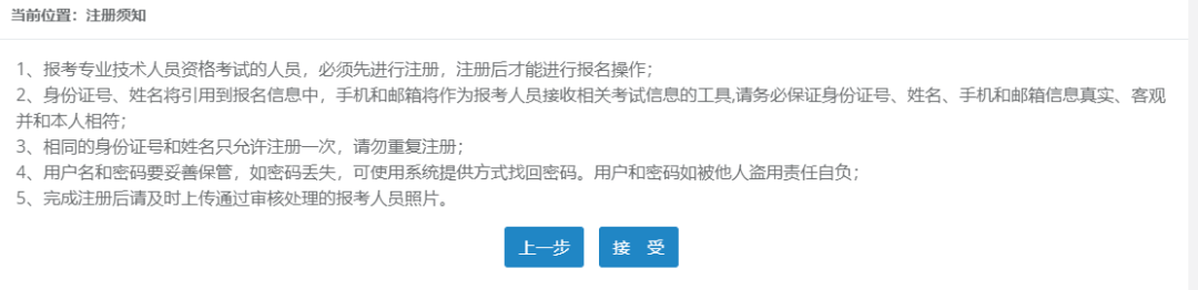
2、接受【专业技术人员资格考试网上报名协议】——查看【注册须知】

皇冠信用网在线注册_2023年社工新考生考试报名注册及学历在线核验流程皇冠信用网在线注册?

展开全文

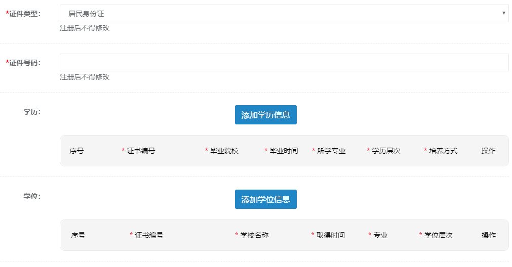
3、填写注册信息皇冠信用网在线注册。其中带*号的是必填项;证件号码,可以选择使用身份证、军官证、护照或港澳台居民身份证进行注册。其中一定要牢记邮箱和密码找回问题,以便找回密码。

皇冠信用网在线注册_2023年社工新考生考试报名注册及学历在线核验流程皇冠信用网在线注册?

皇冠信用网在线注册_2023年社工新考生考试报名注册及学历在线核验流程皇冠信用网在线注册?

4、填写完毕确认无误后点击【提交】,出现信息确认,需要考生重新输入姓名、证件号码进行确认皇冠信用网在线注册。点击【确定】后,提示“注册成功”,再点击【确定】,系统自动返回考生登录界面,填写用户名、密码、验证码后即可登录系统。

重要提示:

(1)一个身份证号和姓名只能注册一次皇冠信用网在线注册,请勿重复注册

(2)确保身份证号、姓名、邮箱和手机信息完整准确

(3)牢记用户名和密码皇冠信用网在线注册,丢失或忘记后用下面方法找回

(4)如姓名中有生僻字无法输入,可以使用同音字加中括号代替皇冠信用网在线注册。

02报名考生学历在线核验步骤

一、新考生皇冠信用网在线注册,未注册账号人员

打开“全国专业技术人员资格考试报名服务平台”,未注册账号,请先点击注册,注册时填写学历信息皇冠信用网在线注册。

皇冠信用网在线注册_2023年社工新考生考试报名注册及学历在线核验流程皇冠信用网在线注册?

二、老考生或已注册账户人员

请直接点击登录,再点击右侧的学历学位信息维护皇冠信用网在线注册。(注意:没有学位,可以不填写学位信息。如果毕业证书不在身边,可以在学信网中查看你自己的“教育部学历证书电子注册备案表 ”,上面有证书编号的。)

皇冠信用网在线注册_2023年社工新考生考试报名注册及学历在线核验流程皇冠信用网在线注册?

注意事项

核验结果查看

核验结果查看:在线核验结果一般在24小时后可以查看核验状态皇冠信用网在线注册。查看方式如下:1.登录报名系统,点击右上角“注册维护”,进入页面后点击“修改学历”。如下图所示

皇冠信用网在线注册_2023年社工新考生考试报名注册及学历在线核验流程皇冠信用网在线注册?

上一篇:皇冠信用网在线注册_宁波《同乡游》注册用户可能超过50万人 同时在线都有上万人

下一篇:怎么注册皇冠信用网_注册消防工程师好考吗 难度怎么样?听听上考网老师怎么说!

网友评论